Windshield Wiper BladeReplacement
Windshield wiper blades should be inspected for wear or cracking.
Allowing the wiper blade arm to touch the windshield when no wiper blade is installed could damage the windshield. Any damage that occurs would not be covered by your warranty.
Do not allow the wiper blade arm to touch the windshield.
1. To remove the old wiper blades, lift the wiper arm until it locks into a vertical position.

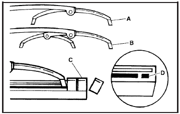
A. Blade Assembly
B. Arm Assembly
C. Locking Tab
D. Blade Pivot
E. Hook Slot
F. Arm Hook
3. Remove the insert from the blade assembly.
The insert has two notches at one end that are locked by the bottom claws of the blade assembly. At the notched end, pull the insert from the blade assembly.

4. To install the new wiper insert, slide the
insert (D), notched end last, into the end with
two blade claws (A). Slide the insert all the way
through the blade claws at the opposite
end (B). The plastic caps (C) will be forced off
as the insert is fully inserted.
5. Be sure that the notches are locked by the
bottom claws. Make sure that all other claws are
properly locked on both sides of the insert slots.

A. Claw in Notch
B. Correct Installation
C. Incorrect Installation
6. Put the blade assembly pivot in the wiper arm
hook. Pull up until the pivot locking tab locks in
the hook slot.
7. Carefully lower the wiper arm and blade
assembly onto the windshield.
See also:
Remote Keyless Entry (RKE) System
Your Remote Keyless Entry (RKE) system
operates on a radio frequency subject to Federal
Communications Commission (FCC) Rules
and with Industry Canada.
This device complies with Part 15 of the
...
Roadside Assistance Program (U.S. and Canada)
For U.S.-purchased vehicles, call
1-800-252-1112; (Text Telephone
(TTY): 1-888-889-2438).
For Canadian-purchased vehicles,
call 1-800-268-6800.
Service is available 24 hours a day,
365 days ...
Child Restraint Systems
(A) Rear-Facing Infant Seat
A rear-facing infant seat (A)
provides restraint with the seating
surface against the back of the
infant.
The harness system holds the infant
in place and, in a ...
