Removing the Spare Tire and Tools
The jacking equipment you will need is stored under the rear seat on the passenger’s side of the vehicle.

To release the jack from its holder, turn the knob on the jack counterclockwise to lower the jack head.

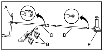
The tools you will be using include the wheel wrench (A), wheel blocks (B), extension(s), (socket end) (C), handle (jack end) (D), and jack (E).

A. Wheel Wrench
B. Hoist Shaft
C. Extension
D. Retainer
E. Spare or Flat Tire
(Valve Stem
Pointed Up)
The following instructions explain how to remove the underbody-mounted spare located underneath your vehicle.
Notice: If you remove or restow a tire from/to the storage position under the vehicle when it is supported by a jack, you could damage the tire and/or your vehicle. Always remove or restow a tire when the vehicle is on the ground.
1. Open the liftgate.
2. Attach the wheel wrench (A) to the
extension (C).
3. It is exposed when the rear gate is open and
is just above the rear bumper.
Be sure the socket end of the extension (C) connects to the hoist shaft (B).

4. Turn the wheel wrench counterclockwise to lower the spare tire. Keep turning the wheel wrench until the spare tire can be pulled out from under the vehicle.
If the spare tire does not lower to the ground, the secondary latch is engaged causing the tire not to lower.

5. Tilt the retainer at the end of the cable when
the tire has been completely lowered, and pull
it through the wheel opening.
6. Pull the tire out from under the vehicle.
Notice: If you drive away before the spare tire or secondary latch system cable has been reinstalled, you could damage your vehicle.
Always reinstall this cable before driving your vehicle.
7. Put the spare tire near the flat tire.
See also:
Increasing Speed While Using
Cruise Control
If the cruise control system is
already activated:
• Move the thumbwheel up toward
RES/+ and hold it until the
vehicle accelerates to the
desired speed, and then
release it.
• To incre ...
Doing Your Own Service Work
WARNING
You can be injured and the vehicle could be damaged if you try to do service work on a vehicle without knowing enough about it.
► Be sure you have sufficient knowledge, experience, ...
Reclining Seatbacks
WARNING
You can lose control of the vehicle if you try to adjust a manual driver seat while the vehicle is moving. Adjust the driver seat only when the vehicle is not moving.
WARNING
If either se ...
